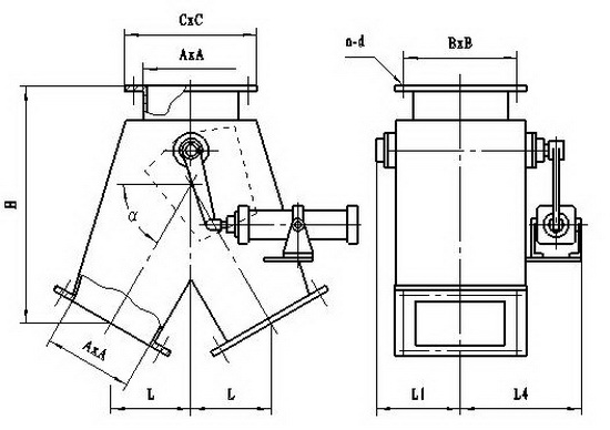
QTH-Ⅱ外形图:Outline

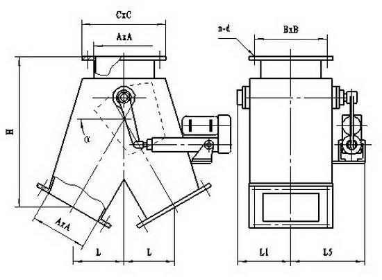
YTH-Ⅱ外形图:Outline

TH-Ⅱ外形连接尺寸:Profile dimensions
|
A
|
B
|
C
|
α
|
H
|
L
|
n-d
|
L1
|
L2
|
L3
|
L4
|
L5
|
|
200×200
|
245×245
|
280×280
|
45º
|
496
|
230
|
8-Φ10
|
180
|
200
|
270
|
300
|
320
|
|
50º
|
530
|
210
|
|
55º
|
557
|
200
|
|
60º
|
570
|
190
|
|
250×250
|
305×305
|
350×350
|
45º
|
620
|
287
|
12-Φ10
|
220
|
250
|
320
|
350
|
380
|
|
50º
|
638
|
263
|
|
55º
|
666
|
250
|
|
60º
|
713
|
238
|
|
300×300
|
355×355
|
400×400
|
45º
|
697
|
325
|
12-Φ12
|
240
|
265
|
330
|
400
|
430
|
|
50º
|
723
|
301
|
|
55º
|
766
|
290
|
|
60º
|
799
|
270
|
|
400×400
|
455×455
|
500×500
|
45º
|
822
|
389
|
16-Φ12
|
300
|
325
|
380
|
450
|
485
|
|
50º
|
850
|
359
|
|
55º
|
900
|
348
|
|
60º
|
982
|
335
|
|
500×500
|
555×555
|
600×600
|
45º
|
950
|
446
|
20-Φ14
|
350
|
400
|
450
|
500
|
550
|
|
50º
|
1011
|
436
|
|
55º
|
1070
|
423
|
|
60º
|
1135
|
395
|
|
600×600
|
655×655
|
700×700
|
45º
|
1138
|
535
|
20-Φ14
|
400
|
450
|
500
|
550
|
600
|
|
50º
|
1213
|
523
|
|
55º
|
1291
|
507
|
|
60º
|
1361
|
473
|
|
700×700
|
755×755
|
800×800
|
45º
|
1328
|
623
|
20-Φ14
|
450
|
500
|
550
|
600
|
660
|
|
50º
|
1415
|
610
|
|
55º
|
1506
|
592
|
|
60º
|
1588
|
551
|
|
800×800
|
855×855
|
900×900
|
45º
|
1518
|
713
|
24-Φ14
|
500
|
550
|
600
|
650
|
720
|
|
50º
|
1617
|
697
|
|
55º
|
1721
|
676
|
|
60º
|
1815
|
630
|