网站首页 >> 产品介绍/Product
煤气放散阀
日期:2017-01-10 08:20:22
 

煤气放散阀 FSX H-1C

Coal Gas Venting Valve

概 述Overview

      广泛应用于冶金、有色、建材、化工等行业的煤气、空气和其它气体管道,作为切断气体介质设备,也可用于气体的排放和发散。。

      The valve is widely used at pipe of coal gas, air and other gas in metallurgy, building material, chemical industries etc. It can be used to cut off gas medium and let out gas.

结构特点:Structure Features

      结构简单,采用外口密封装置,FSX-1C型为硅橡胶密封圈,FSH-1C型为不锈钢硬密封圈,密封性能可靠。

      The valve has simple structure and outside seal device. Type FSX-1C has silicon rubber seal. Type FSH-1C has stainless steel hard seal. The seal is reliable.

技术参数表:Technical Data Sheet

公称压力PN

适用温度Temp

适用介质Medium

开启角度Angle

0.25MPa

≤200℃

≤450℃

煤气、空气等气体Coal gas and air etc

≥45°

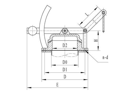
外形图:Outline  

外形连接尺寸:Profile dimensions

DN

D0

D1

D2

D

H

E

L

n-d

重量W (Kg)

150

162

280

140

320

160

900

850

8-Φ18

165

200

216

335

190

375

160

1000

850

12-Φ18

230

250

270

395

240

440

170

1100

1000

12-Φ22

325

300

320

445

290

490

190

1350

1200

12-Φ22

420

350

372

495

340

540

210

1600

1500

16-Φ22

525

400

422

550

390

595

230

1800

1700

16-Φ22

640

450

472

600

440

645

250

2000

1900

20-Φ22

765

500

522

655

490

705

270

2250

2100

20-Φ26

875

550

572

705

540

755

300

2500

2350

20-Φ26

990

600

622

760

590

810

330

2700

2550

20-Φ26

1110