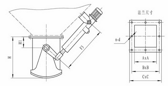
外形图:Outline

外形连接尺寸:Profile dimensions
|
A×A
|
400×400
|
500×500
|
600×600
|
700×700
|
800×800
|
900×900
|
1000×1000
|
|
B×B
|
455×455
|
555×555
|
655×655
|
755×755
|
855×855
|
955×955
|
1070×1070
|
|
C×C
|
500×500
|
600×600
|
700×700
|
800×800
|
900×900
|
1000×1000
|
1130×1130
|
|
H
|
480
|
560
|
620
|
720
|
800
|
880
|
960
|
|
H1
|
90
|
100
|
120
|
120
|
150
|
150
|
150
|
|
E
|
80
|
100
|
100
|
100
|
120
|
120
|
120
|
|
n-d
|
16-Ф12
|
20-Ф14
|
20-Ф14
|
20-Ф14
|
24-Ф14
|
24-Ф14
|
28-Ф18
|
|
F3
|
450
|
450
|
580
|
580
|
700
|
700
|
1255
|
|
α
|
45°
|
60°
|
45°
|
60°
|
45°
|
60°
|
45°
|
60°
|
45°
|
60°
|
45°
|
60°
|
45°
|
60°
|
|
L
|
450
|
430
|
550
|
530
|
620
|
600
|
690
|
670
|
750
|
730
|
810
|
790
|
870
|
850
|
|
S
|
246
|
187
|
307
|
234
|
349
|
261
|
391
|
288
|
451
|
334
|
493
|
361
|
536
|
408
|