型号说明:Type description
HZF-I 型 方形直联式Rectangle direct-coupled HZF-II 型 圆形直联式Round direct-coupled
HGF-I 型 方形底座式Rectangle seat HGF-II 型 圆形底座式Round seat
HTF-I 型 方形侧装式 Rectangle side HTF-II 型 圆形侧装式Round side
技术参数表:Technical Data Sheet
|
技术性能 Name
|
技术参数Parameters
|
|
公称压力 PN
|
0.05MPa
|
|
适用温度Temperature
|
≤250℃
|
≤650℃
|
|
适用介质Medium
|
干燥粉尘、颗粒、晶体等Dry powder dust, grain, crystalloid etc
|
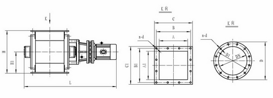
HZF-Ⅰ Ⅱ外形图:Outline

外形连接尺寸:Profile dimensions
|
A×A1
|
B×B1
|
C×C1
|
DN
|
D1
|
D
|
H
|
n-d
|
H1
|
L
|
传动装置
|
|
150×150
|
195×195
|
230×230
|
150
|
200
|
230
|
250
|
8-Ф10
|
125
|
930
|
BLY-15-43-0.5
|
|
200×200
|
245×245
|
280×280
|
200
|
256
|
295
|
300
|
8-Ф10
|
150
|
990
|
BLY-15-43-0.75
|
|
250×250
|
305×305
|
350×350
|
250
|
306
|
340
|
350
|
12-Ф10
|
175
|
1040
|
BLY-15-43-0.75
|
|
300×200
|
355×255
|
400×300
|
|
|
|
300
|
10-Ф10
|
150
|
1090
|
BLY-15-43-0.75
|
|
300×300
|
355×355
|
400×400
|
300
|
356
|
390
|
450
|
12-Ф10
|
225
|
1190
|
BLY-18-59-1.1
|
|
400×300
|
455×355
|
500×400
|
|
|
|
450
|
14-Ф12
|
225
|
1290
|
BLY-18-59-1.1
|
|
400×400
|
455×455
|
500×500
|
400
|
456
|
490
|
600
|
16-Ф12
|
300
|
1390
|
BLY-22-71-1.1
|
|
500×300
|
555×355
|
600×400
|
|
|
|
450
|
16-Ф14
|
225
|
1400
|
BLY-18-59-1.5
|
|
500×400
|
555×455
|
600×500
|
|
|
|
600
|
18-Ф14
|
300
|
1500
|
BLY-22-71-1.5
|
|
500×500
|
555×555
|
600×600
|
500
|
564
|
600
|
760
|
20-Ф14
|
380
|
1500
|
BLY-22-71-2.2
|
|
600×400
|
655×455
|
700×500
|
|
|
|
600
|
18-Ф14
|
300
|
1600
|
BLY-22-71-1.5
|
|
600×500
|
655×555
|
700×600
|
|
|
|
760
|
20-Ф14
|
380
|
1600
|
BLY-22-71-2.2
|
|
600×600
|
655×655
|
700×700
|
600
|
664
|
700
|
900
|
20-Ф14
|
450
|
1600
|
BLY-22-71-3
|
|
700×500
|
755×555
|
800×600
|
|
|
|
760
|
20-Ф14
|
380
|
1720
|
BLY-22-71-3
|
|
700×600
|
755×655
|
800×700
|
|
|
|
900
|
20-Ф14
|
450
|
1720
|
BLY-22-71-4
|
|
700×700
|
755×755
|
800×800
|
700
|
772
|
820
|
1000
|
20-Ф14
|
500
|
1920
|
BLY-27-71-3
|
|
800×700
|
855×755
|
900×800
|
|
|
|
1000
|
22-Ф14
|
500
|
2020
|
BLY-27-71-3
|
|
800×800
|
855×855
|
900×900
|
800
|
872
|
920
|
1200
|
24-Ф14
|
600
|
2020
|
BLY-27-71-4
|
|
900×900
|
955×955
|
1000×1000
|
900
|
980
|
1030
|
1400
|
24-Ф14
|
700
|
2230
|
BLY-33-71-5.5
|
|
1000×1000
|
1070×1070
|
1130×1130
|
1000
|
1080
|
1130
|
1500
|
28-Ф18
|
750
|
2330
|
BLY-33-71-5.5
|